8 (925) 663-83-63Call-центр
пн-вс: 10:00-19:00
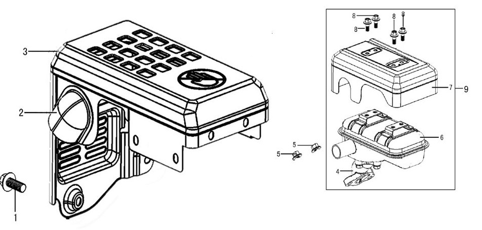
| N | Артикул | Название | Срок отгрузки | Цена | Купить |
| 1 | 0104.029100 | Болт фланцевый M6х10 мм | – | ||
| 2 | 1500.202200 | Крышка | – | ||
| 3 | 1500.202300 | Кожух глушителя защитный | – | ||
| 4 | 1500.202400 | Коллектор выпускной | – | ||
| 5 | 0104.019800 | Гайка фланцевая M6 | – | ||
| 6 | 1500.202500 | Глушитель | – | ||
| 7 | 1500.202600 | Защита глушителя | – | ||
| 8 | 0200.021500 | Болт фланцевый M6 | – | ||
| 9 | 1500.202700 | Глушитель в сборе | – |
| Найдено товаров: 9 |
|
8 (925) 663-83-63 Call-центр
пн-вс: 10:00-19:00
| Введите номер заказа |
| Введите номер своего заказа, что бы узнать его текущий статус. Что бы получить доступ к расширенным функциям, пройдите не сложную регистрацию. Зарегистрироваться |